Nowy patent opisuje chłodzenie PlayStation 5. Projekt wygląda na zaawansowany
Tylko czy poziom zaawansowania układu idzie w parze z wydajnością chłodzenia?
Premiera PlayStation 5 to obecnie jeden z najgorętszych tematów w internecie. Jej bezpośredni konkurent — Xbox Series X, choć wciąż ciekawy jako next-gen, to nie budzi wśród internautów takiego zainteresowania jak sprzęt Japończyków, szczególnie że Ci ostatni są w jego temacie bardzo tajemniczy. Przez ostatnie miesiące poznaliśmy jedynie technikalia nowej konsoli i jej pada, podczas gdy konkurencja ujawniła już wygląd urządzenia. Teraz dzięki ujawnionemu patentowi najprawdopodobniej wiemy, jak będzie wyglądać chłodzenie konsoli.
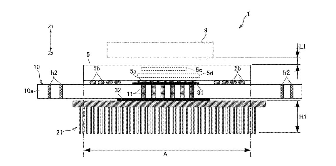
Wniosek pojawił się dziś na stronie amerykańskiego urzędu patentowego i jest obecnie dostępny publicznie do wglądu. Dzięki dołączonemu obrazkowi można zapoznać się z jego budową, a szczegółowe objaśnienia konstrukcji znajdują się w dołączonym dokumencie.
Co ciekawe projekt zakłada umieszczenie radiatora po przeciwnej stronie płyty z chipem, co nie jest zbyt popularnym rozwiązaniem. Na górnej tafli płytki drukowanej znalazłoby się jedynie serce konsoli, a dopiero z drugiej strony zostanie umiejscowiony masywny radiator. Ciepło będzie transferowane przez specjalne kanaliki cieplne znajdujące się w laminacie na drugą stronę płytki drukowanej.
Jeśli wczytać się w szczegóły patentu, to można znaleźć informację, iż taki układ pozwoli na zamontowanie dodatkowego modułu jak na przykład chip sterujący Wi-Fi czy bardzo ważnym elementem konsoli — superszybkim dyskiem SSD. W takim wypadku przewidziano montaż dodatkowego radiatora, przykrywającego wymieniony moduł, dzięki czemu finalnie główny chip konsoli mógłby być chłodzony z obu stron, co niewątpliwie zwiększyłoby wydajność systemu odprowadzania ciepła i pozwoliło zaoszczędzić miejsce, które może zostać użyte do montażu innych komponentów.
Sony według oficjalnych informacji miało się w swojej najnowszej konsoli przyłożyć do aspektu chłodzenia, który to kulał zarówno w standardowym PlayStation 4, jak i potężniejszym modelu Pro. Mark Cerny — główny architekt obu systemów zapewniał, iż nowy sprzęt nie generuje takiego hałasu jak model obecnej generacji, a sam układ odprowadzania ciepła ma zostać znacząco uprawniony.
Przeczytaj więcej na podobne tematy:
• Pierwsza rocznica Civilization VII. Twórcy zapowiadają ogromne zmiany - Wczoraj, 18:08
• Sprawdźcie jak wygląda walka i rozwój postaci w Crimson Desert! Nowy materiał z rozgrywką prosto od twórców - Wczoraj, 07:07
• Capcom zaprezentował gameplay z Resident Evil Requiem na Switch 2. Przygotował też specjalne gadżety dla posiadaczy handhelda od Nintendo - 05.02.2026 21:28
• Borderlands 4 na Nintendo Switch 2 zawieszone. Konsola nie doczeka się popularnego shootera - 05.02.2026 17:07
• Sprzętowe podsumowanie miesiąca. Co testowaliśmy w styczniu? - 05.02.2026 09:00


Komentarze
Wygląda na zaawansowany i skomplikowany, a co więcej, patent wpłynął 18 maja 2018 roku, więc prawie 2 lata temu. Oznacza to, że już wtedy Sony wiedziało jak ten system chłodzenia ma być zaprojektowany. Oczywiście co niektórzy w dalszym ciągu twierdzą, że PS5 się przegrzewa i coś mi mówi, że po prezentacji PS5 mogą się bardzo zdziwić :)
odpowiedzRacja. Jedno jest pewne - będzie ciekawie :)
odpowiedzOby wystarczająco pasty dali.
odpowiedzDodaj nowy komentarz: